3ele

ハンディー機直結3エレ八木の製作

August 1993

J J 1 T X J / 8

E-mail: fuji@hotweb.or.jp




1.制作の目的
 ハンディー機の小型・軽量・高性能化により、アウトドアでのQSOが手軽に楽しめるようになりました。

 私はは登山をしながら、山頂ごに、皆さんとの交信が楽しみで、装備には必ずハンディー機を詰め込むことにしております。

 また、山に関する各種アワードも数多く運営されているようで、これらに参加することも大変楽しいことだの思います。

 高い山では見通し距離が飛躍的に伸び、ハンディー機単体でも、遠距離交信できます。また、多くのパイルアップをさばくのも楽しいものです。これが山岳移動の醍醐味と言えましょう。

 ところが、430MHzは休日ともなると混雑も激しく、空きチャンネルが見つからないといった経験をお持ちの方も少なくないと思います。せっかく移動運用ですから、快適なQSOをしたいものです。

 高利得の八木アンテナは指向性があり、山頂でも威力を発揮しますが、アンテナの他にマストやケーブル等が必要で相当な容量と重さになります。登山では荷物に制限もあり、本格的な移動運用以外ではあまり使いやすいものではありません。

 そこで今回は、手軽に使えるアウトドアに最適な3エレ八木を制作してみました。


2.特徴
(1) 指向性がある
混信激減 山頂でのQSO快適

(2) 高利得

フロントゲインは市販のホイップアンテナ以上

(3) 軽量・コンパクト

組立式で携帯が容易

(4) ハンディー機に直結

マスト・ケーブル等不要

(5) 調整が簡単

ガンママッチによりSWRは下がる

(6) 安価

1,500円程度(2本作れば1,000円/本)

3.部品

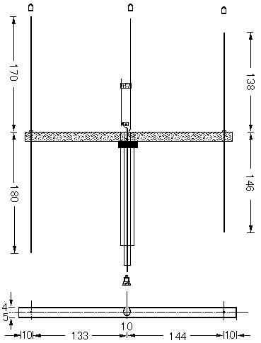
 真鍮パイプとアルミ棒は1M物を日曜大工専門店で購入しました。

 ブームに使うコの字アングルは同店で販売していましたが、安価なL字アングルを図のように張り合わせて作りました。

 セラミックトリマは手持ちの物を利用しましたが、同型の物が本誌広告の秋月電子通商さんで1個20円で売っていました。

 ワッシャーはエレメントをブームに差し込む際のストッパーで、小さい物の方が分解したときにじゃまになりません。


絶縁体パイプはラジエターにブームを取り付ける際のストッパーで内経が10oの物な らなんでもかまいません。10D2Vの外皮がぴったりですが、見栄えを気にしなければビニールテープでも良いでしょう。

 導波器と反射器には上下があります。先端にキャップを付けると分かりやすく、保護にもなります。キャップは壊れたビニール傘から8個ほど取れます。


4.製作
まず部品リストの通り部品を切り出します。パイプは金のこでも切れますが、パイプカッターがあった方がきれいに仕上がります。ローカル局に聞いてみると必ずどなたかお持ちのはずです。

 ブームのほぼ中央に10oの穴を開けます。これはラジエターを差し込むために片側が切れています。最初に5〜6oの穴を開けてからリマで広げていったほうが上手く行きます。少しきつめぐらいの方が良いようです。

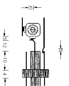
 真鍮棒280oの片側を BNC中心コンタクトの穴に入るよう、やすりで鋭くとがらせ半田付けをします。半田ごては100W程度の物を使ってください。それに熱収縮チューブやビニールテープで絶縁を施し、真鍮パイプ6oを通しBNCナットに半田付けを行います。途中5D2Vの内部絶縁体を削った物か、ビニールテープを厚巻きにした物を入れて置くと中心が保たれFBです。

 BNC内部のクランプやガスケットはいりませんのでジャンク箱しまっておいてください。

 次に10oパイプのかかる部分に先ほどと同様に絶縁を行い10oパイプを通します。ここではスペーサーに5D2Vの外皮を巻き付けました。

 次にブームストッパーの絶縁パイプを10oパイプに通し、 BNCの近くまで下げておいてください。下げ忘れると半田の熱で融けてしまうことがあります。

 次に飛び出した中心導体をトリマーを付けるために直角に折り曲げます。あまった部分は切断してください。それからトリマーの半田付けを確実にするため真鍮棒の一部をやすりで平らにしてください。


 次に10oと6oのパイプの間に真鍮棒 165oを半田付けしますが、10oパイプの内側にあらかじめやすりで溝を切っておくと曲がらずにすみます。

次に10oと6oのパイプの間にシールド線の切れ端を小量詰め込み、半田を流し込みます。

 次に真鍮棒 100oをトリマーに半田付けしますが、先ほど同様に片側を平らに削っておくと確実になります。その後トリマーと真鍮棒165oの間にアクリル板等の小片を接着することにより、ガタツキがなくなります。

 次にショートバーを真鍮板で作ります。少しきつめ位がちょうど良く、一回り小さい棒に巻き付け、ペンチで押さえつけると上手くいきます。

最後に導波器と反射器にワッシャーを通し、上部からのみ接着します。中心ではないので注意してください。



5.調整

 SWR 計に本機を直結しショートバーとトリマーの調整により必ずSWR1.5以下まで下がります。根気よく頑張ってみてください。運悪くSWRが下がらないときは 165oの真鍮棒を少し切るか、または付け足すかしてみてください。1o単位で成果がでることがあります。

 調整が無事終了したらショートバーを半田付けしてください。その後1000番程度のやすりで磨くと真鍮の輝きが美しく、さらにアンテナコートのような物を塗っておくと輝きは衰えません。

 最後に必要箇所を防水処理すればできあがりです。430MHz程度では問題にならないようですが、エポキシ系接着剤は高周波特性が悪く、1200MHzでの使用は避けた方がよいとOMからアドバイスを受けたことがあります。私は、セメダインスーパーXNo.8008という接着剤を使っています。



6.実験

本機はエレメントの取り外しが簡単であることから、次の実験が手軽に行えます。 ブームを長くし必要箇所に穴を開けるだけで4エレ・5エレにする事が出来ます。また、エレメント間隔に付いての効果も実験出来ます。CQ出版社アンテナ・ハンドブック等のデータを参考に実験してみると確実な成果が得られます。
しかし、アウトドアでの利用は3エレがよく、4エレ以上は形状が大きくなり、ハンディー機に取り付けた場合不安定になってしまいます。また、コネクターが折れてしまいそうでかわいそうです。

7.使用感

 指向性があるため混信が減少し山頂でのQSO快適です。フロントRS59がサイドでは入感がなく、方向を選べば、空きチャンネルは必ず見つかります。
 また、フロントゲインも程々有り、市販のホイップアンテナに負けません。組立も簡単で30秒ほどで完了し、悪天時など助かります。


8.おわりに

 本機製作に当たって、多くのローカル局のご協力を得ました。特に、登山の大先輩でもあるJA1JCA武内OMには本機製作に関するヒントと技術的なご指導を頂きました。JH1LZB徳田氏からは資材と便利な工具を頂き、JI1IIJ峯尾氏からは諸測定機をお借りしました。