ヘンテナ神話の真偽
6mではヘンテナはおなじみのアンテナです。簡単な構造で自作が楽であり、軽量化が可能で担ぎ上げの移動運用では登場の機会が今でも多いようです。ヘンテナについてはいろいろな文献が出ているようですが、私が見た雑誌などでは「4エレ相当の利得がある」とか「打ち上げ角が低い」とか書かれているのを見たことがあります。果たしてこれらは事実なのか? 昔は検証の手段としては実験しかありませんでしたが、今ではアンテナシミュレーションソフトという文明の利器があります。これを用いてヘンテナの性能をDP及び2エレ八木と比較してみたので報告します。
なお、シミュレーションソフトとしてはJA1WXB松田さん作成のシェアウェア「MMPC for Win」を使用しました。このソフトはどんな形状のアンテナでもシミュレーションが可能で、今回のヘンテナのようにループ系も計算可能なので使用しました。ウィンドウズ95が動くパソコン上で動作するソフトで、私の場合は八木アンテナ以外の計算はもっぱらこれを使っています。
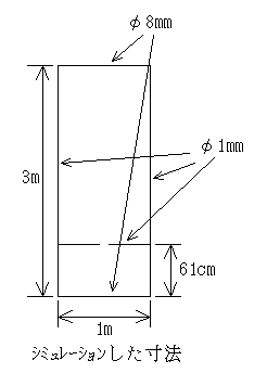
ヘンテナの構造
- 言わずと知れた縦3m、横1mの縦長の長方形です。長辺の途中(下辺から約60cm程度)にバランを介して給電します。
ヘンテナの寸法
寸法の決定方法は、まず材料の太さを決め、ループの縦横の寸法を決めて、自由空間で50.2MHzに共振するように給電点の高さを調節しました。その結果、以下のようになりました。
横のエレメント直径 :8mm
縦のエレメント直径 :1mm
給電部のエレメント直径:1mm
給電部位置 :下辺から61cm
比較対象のDP、2エレ八木の寸法
DPについては単純に50.2MHzで共振する寸法にしました。2エレについてはブーム長を1mに固定し、F/B比が10dB程度取れる範囲で最も利得が高くなる寸法にしました。

DPの寸法
エレメント直径 :8mm
エレメント長 :2.86m

2エレ八木の寸法
エレメント直径 :8mm
エレメント間隔 :1m
ラジエータ長さ :2.77m
リフレクタ長さ :2.96m
自由空間での比較
- まず、地面も含めて周囲に何もない、言ってみれば宇宙空間にポツンとアンテナを置いた状態(これを自由空間という)での性能の比較をやってみました。以下に計算結果を示します。
|
利得 |
| 絶対値 |
DP基準 |
| DP |
-0.03dBd |
0 |
| ヘンテナ |
3.21dBd |
3.24dB |
| 2エレ八木 |
4.38dBd |
4.41dB |
- この結果より、ヘンテナの実力は2エレよりもやや劣る程度だということが判ります。残念ながら4エレ相当というわけにはいきません。ただ、DPよりも3dBアップ(2倍ちょっと)ですのでDPを使うよりはずっと性能がいいのは間違いないです。
地面の影響を加味しての比較
シミュレーションの条件
- シミュレーションのパラメータは担ぎ上げの移動を前提として以下の様に決めました。
ポールの長さ:5m(アンテナのトップの高さ)
地面の導電率:20
地面の誘電率:4
- なお、計算の結果、共振周波数は自由空間の時と比較してそれほど差がなかったので、エレメント長の寸法の調整はしませんでした。
計算結果
- 以下に計算結果を示します。



|
利得 |
打ち上げ角 |
| 絶対値 |
DP基準 |
| DP |
5.36dBd |
0 |
17度 |
| ヘンテナ |
7.88dBd |
2.52dB |
21度 |
| 2エレ八木 |
10.02dBd |
4.66dB |
17度 |
- 利得を見てみると、ヘンテナは自由空間と比較して相対的に低下しています。これはヘンテナの形状が縦長で給電点の地上高がDPよりも取れないことが原因と思われます。2エレ八木との利得の差が2dBに広がっていますので、耳の差が実感として確実にとらえられると思われます。
- 打ち上げ角は噂とは違って高くなってしまいました。やはり形状的に地上高がとれないことが原因でしょう。ちなみにヘンテナの給電点の高さを5mにすると打ち上げ角は14度に低下して他のアンテナよりも確かに低くなります。しかし、この高さまで上げるには八木やDPと違って7.5mのポールが必要です。同じ土俵で比較すると分が悪いようです。
構造的な観点では
電気的性能では、どうやらヘンテナは2エレには勝てないようです。しかし、機械的な構造も含めるとどうでしょうか? これがいろいろ利点があるのです。
・回転半径が小さい
2エレだと約3.2mの回転半径が必要ですが、ヘンテナは1mしかありません。これは障害物があるところではヘンテナが圧倒的に有利であることを意味しています。木の枝が出っ張っているところだと2エレは上がらないけどヘンテナは上がるという場所も多いんじゃないかな。
・耐風性能が良い
ヘンテナの場合、横のエレメントは1mしかありませんし、縦はワイアーでほとんど風の影響を受けません。しかも縦長で重心が下の方なので、ポールへの負担は非常に小さくて風に強いアンテナです。それに対して2エレは重心がトップですし、受風面積もヘンテナの約3倍、さらにはポールのトップにくっつけますから風の力はポールのトップに集中し、ポールにかかるモーメントはヘンテナの比ではありません。
このことを別の観点から見ると、ヘンテナの場合は2エレを使うときよりも弱いポールで問題ないと言えます。釣り竿なんかは格好のポールとなるでしょう。残念ながら2エレではこんな芸当できません。
・軽量である
パイプの部分は上下の1mだけ、縦のエレメントはワイアーで八木と比較すると圧倒的に軽量化できます。これは担ぎ上げでは非常に重要な要件です。場合によっては電気的性能に優先する項目です。
・分解/組立が簡単
横のエレメント長が短いので収納長を短くするためにパイプの継ぎ数を多くするにしても、八木と比較すれば圧倒的に少なくて済みます。展開/撤収性は非常にいいです。
・調整が簡単
これは八木やDPにはない特徴です。というのも八木やDPはエレメントの長短で調整しますが、パイプの場合はエレメントを延ばすのは面倒なことで、スライドできるような構造を考えておかなければなりません。それなりに加工の手間がかかります。もしそのような構造にしていなかった場合、エレメントを短くしすぎたときに対応が大変です。しかし、ヘンテナの場合は給電点の上下だけ、つまりワニグチクリップでくわえる場所を変えるだけでいいんです。エレメントを延ばしたり切断したりする必要がありません。つまりは調整が簡単で、失敗がないってことです。これはアンテナ自作の初心者でも安心して取り組める大変大きな要素でしょう。
総合評価
以上の検討により、「4エレ相当の利得がある」とか「打ち上げ角が低い」とかの噂は誤りで、ヘンテナは2エレ八木よりもやや劣る程度の性能であり、同じポールを使うのであれば八木よりも打ち上げ角が高くなることが明らかになりました。しかしながら狭いスペースしか無い場合や担ぎ上げで軽量化を狙いたい時には威力を発揮するアンテナと言えます。また、初心者でも安心して自作に取り組めるアンテナであり、入門用としてはDPよりも適しているでしょう。正しい性能を知って、最適な場所で特長を生かして下さい。